Shop

Engelse scepterpot YS/Allen voor SL-voetrail

 119,95

Fraai vormgegeven super degelijke scepterpot of scepterpaalvoet: geboord, gefreesd, gepolijst en blank geanodiseerd uit zeewaterbestendig aluminium, compleet met teflon voering om galvanische corrosie met de RVS scepterpaal tegen te gaan.

Veel gebruikt op Engelse en Britse jachten zoals Westerly, Moody etc.

 

3 op voorraad (kan nabesteld worden)

Voeg toe aan mijn verlanglijstje
Voeg toe aan mijn verlanglijstje
Artikelnummer: YS47-20 Categorieën: , Merk:
Beschrijving

Engelse scepterpot YS/Allen voor SL-voetrail

Fraai vormgegeven en super degelijke aluminium scepterpaalvoet uit zeewaterbestendig aluminium. Compleet met ptfe voering om contactcorrosie met de RVS scepterpaal tegen te gaan. Past op de voetrail van SL Yachting (sl-yachting.com). Veel toegepast op in Engeland gebouwde jachten zoals de Westerly en de Moody.

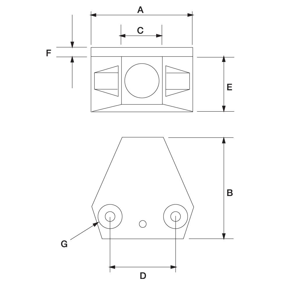
Specificaties:

  • A – breedte 73,4 mm
  • B – hoogte 72 mm
  • C – breedte bovenzijde 33-34 mm, boring Ø 26,5 mm
  • D – montage op voetrail 2 x Ø 6,8 , hart-op-hart 45,5 mm
  • E – dikte 34,5 – 41 mm
  • F – nokhoogte 6,5 mm
  • G – 2 x M6 cilinderkopschroef TX of inbus
  • voor het borgen van de scepterpaal raden wij een bolkoposchroef M5 x 45 mm met een zelfborgende moer aan
  • onderin het gat voor de scepterpaal bevindt zich nog een boring voor een derde M6 cilinderkopschroef door de voetrail
  • compleet met isolerende PTFE voering om galvanische corrosie tegen te gaan.
  • gewicht 310 g

Let op: om galvanische corrosie tegen te gaan adviseren wij – naast de meegeleverde PTFE voering ook het gebruik van een metaalvrije schroefdraadpasta zoals Weicon High-Tech Anti-Seize en Duralac isolatiepasta.

N.B. de oorspronkelijke YS scepterpotten waren gefreesd uit gegoten aluminium, de huidige potten zijn noodgedwongen uit volmateriaal gefreesd.

Aanvullende informatie
Gewicht 310 g
Afmetingen 7,5 × 4,7 × 7,5 cm
Beoordelingen (0)

Beoordelingen

Er zijn nog geen beoordelingen.

Wees de eerste om “Engelse scepterpot YS/Allen voor SL-voetrail” te beoordelen

Je e-mailadres wordt niet gepubliceerd. Vereiste velden zijn gemarkeerd met *